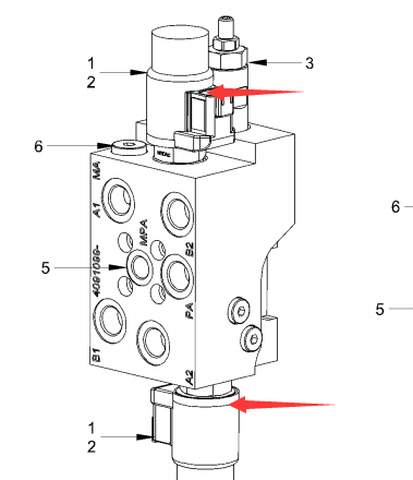
电磁阀线圈
价格
¥.00
商城价
¥.00
0
交易成功
零件号: 2615591
配件编码:HFDKF
产品品牌:HAMM(悍马)
适配机型:悍马压路机
别名: 电磁阀线圈
属性: 进口





















0
累计评论